聚焦麻豆视频APP免费版,传递环境检测行业新动态

史上全的沙尘试验工作原理及测试标准,超实用!

作者: salmon范 编辑: 麻豆视频APP免费版仪器 来源: www.jhlthg.com 发布日期: 2019.06.28

    为什么要做沙尘试验?

    沙尘试验主要用于低压电器、电机、仪器、仪表、电子产品、灯具的沙尘模拟检测,是评价手机、电工产品等产品在砂尘环境中的密封性,汽车、摩托车零部件、密封件等在砂尘环境中的使用、贮存、运输中的密封性能。
麻豆视频APP免费版沙尘试验箱
麻豆视频APP免费版沙尘试验箱

    沙尘试验实验原理与设备

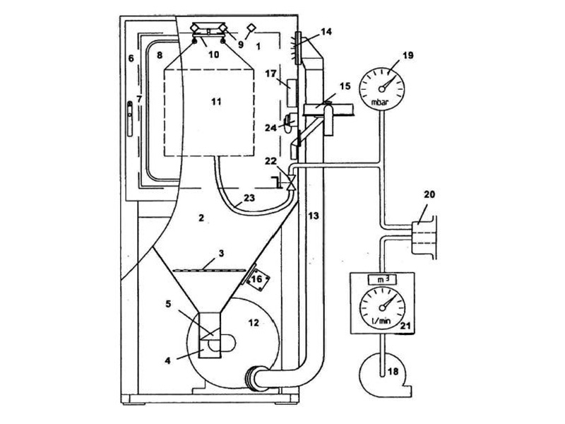
    沙尘试验用 沙尘试验箱完成,沙尘试验箱学名为“砂尘试验箱”,模拟自然界风沙气候对产品的破坏性,适用于检测产品的外壳密封性能,主要用于外壳防护等级标准中规定的IP5X和IP6X两个等级的试验。沙尘试验箱的工作原理是由风机推动一定浓度的沙尘以一定的流速吹过试验样品表面,测试这些试验样暴露于干砂或充满尘土的大气作用下防御尘埃微粒渗透效应的能力、防御砂砾的磨蚀或阻塞效应的能力及能否储存和运行的能力。设备有载灰尘垂直循环的气流,试验用灰尘可以循环使用 ,整个风道采用进口高级不锈钢板制作,风道底部与锥形料斗接口连接,风机进出风口直接与风道连接,再在适当的位置上将工作室顶部扩散口接入工作室体,形成“O”型闭式垂直吹尘循环系统,使气流能顺畅地流动,限度的使尘土分散均匀。采用单台大功率低噪音离心风机,根据试验需要用变频调速器来调节风速。
    在IEC 60529其实就是GB/T4208外壳防护等级(IP代码)中,其实对防尘这块从数字1至数字6都有描述,但设备却只有IP5X与IP6X的设备。原因在于标准中对1和2是要求物体试具不得完全进入外壳,就是说球的整个直径不得通过外壳开口,而3与4特征时,物体试具完全不得进入外壳,从这里可以看出来,这个防护等级是非常低的,所以环境试验设备行业并没有针对这四个特征去制造对应的试验箱。而IP5X与IP6X的要求分别是,允许在某些规定条件下进入数量有限的灰尘,不允许任何灰尘进入,灰尘是非常极细的,要防止进入可想等级之高。

沙尘试验箱结构图

沙尘试验箱结构图

    标准中提到砂尘试验箱的基本原理。另外密闭试验箱内的粉未循环泵可用能使滑石粉悬浮的其他方法代替。滑石粉应用金属方孔筛滤过,金属丝直径50μm,筛孔尺寸为75μm,滑石粉的用量为每立方米试验箱容积2kg,使用次数不能超过20次。而且滑石粉的选用还应该要符合人体健康与安全的各项规定。
    其实砂尘试验箱的试验粉尘不仅有滑石粉,在其他的标准中还会提到硅酸盐水泥、橄榄石或烟通灰等,而且它的吹尘方式也有连续与周期可选择。

    沙尘试验流程

    1、试样的预处理
    如果试样的技术条件有要求,应按要求进行样品预处理,使样品保持干燥状 态,防尘试验外壳防护试验的一部分,通常与防方试验连在一起,样品防水试验后,一定要等它干燥后才能放入防尘箱,如果试样未规定预处理条件,则应按 GB2423.37的规定,将样品放在下述正常大气条件下放置2H以上:
    A 温度:15℃-35℃之间;
    B 相对温度:45%-75%;
    C 大气压力:8Kpa-106Kpa。
    2、样品进箱 
    将预处理的没包装的试样放入防尘箱试验设备的工作空间内,除非试验样品另有规定,否则,样品在试验过程中不通电不工作。样品的体积不得超过试验设备的有效工作空间的1/3,各种试样之间及其与防尘设备的距离应不少于 100MM。
    3、抽真空 
    不同的防护等级样品的安装:
    A 防护等级为1P5X,正常使用时壳内气压低于周围大气压的种类型(A类)试样的外壳,应在紧靠易换部件的位置设置抽气孔,并用软管将试样上的抽气口与真空系统的抽气口连接起来。
    B 防护等级为1P5X,正常使用时壳内气压低于周 围大气压的第二种类型(B类)试样的外壳,如果产品标准明确规定为B类外 壳,则进行1P5X试验时不对被检产品抽真空,如果产品标准没有明确规定,则被检产品都被看成A类外壳,进行1P5X试验时,必须抽真空。将试样按试样技术条件规定的要求位置放置。
    C 防护等级为1P6X的试样,不论是A类试样或B类试样的外壳,都要抽真空。
    4、往斜槽加滑石粉
    按每立平米防尘试验设备容积(包括管道和工作空间的容积之和)为2㎏计算出来的干燥滑石粉量放入筛网上即可。
    5、关好试验箱的玻璃门
    检查防尘试验设备应密封良好,应能防止灰尘外逸。
    6、开机
    对于需要抽真空的试样,开机时,同时开动鼓风机和真空抽气系统,调节阀门,使真空度和空气流量符合产品技术条件的要求对于不需要抽真空的试样,只开鼓风机,不开真空系统。
    7、更换滑石粉
    关机后,打开机箱左侧门,打开漏斗底下的阀门,将报废的滑石粉放出,把要更换的滑石粉放入防尘箱机箱内的筛网上,然后手动开启振动,将滑石粉振入漏斗内,借肋风力将滑石粉通过送风进入防尘试验设备的工作空间内。
    8、停机
    如果试样技术条件要求中间检测,则在试验达到规定的时间后,停止真空系统的鼓风机,待灰尘完全沉降后,打开防尘箱的玻璃门,在不取出试样的情况 下进行中间检测。 对于无中间检测要求的试样,当试验时间或抽气量达到要求时,停止真空系 统和鼓风机的动作,待灰尘完全沉降后,取出样品后,在本节第1条“试样的 预处理”条件下(即“正常大气条件)放置1H-2H 。
    9、后检测
    A 检查试样外壳内进入灰尘的量和灰尘沉降的位置。
    B 按试样技术要求检查诸如电气、机械性能等项目。
    10、补充说明
    A 如果试样技术条件规定要进行“初始测量”,应按规定在试样进入试验设备前或开动防尘设备鼓风机前进行测量。
    B 如果试样体积太大进不了防尘箱设备,则按产品技术条件规定可将试样的密闭部件分别进行防尘试验。
    C 根据试样技术条件规定,可用与大件试样结构相同的小试样进行防尘试验,试验结果代表大件试样。
    D 根据试样技术要求规定试验时试样必须带负载,则应在防尘试验时加上试样的负载。
    E 作为“灰尘”的滑石粉,投入试验设备之前,应按规定用200目的筛网筛过,并保持干燥状态。
    G 应按防尘试验要求,定期更换滑石粉。
    H 试验前检查样品悬挂状况。注意开机时可能产生振动,要防止因悬挂不牢固而试样从挂钩上掉落和固振动而使样品碰壁,从而出现损坏样品和损坏防尘箱的情况。
    I 真空系统的接头不得漏气,气体流量计和压力计应按仪器要求安装和使用,要检查真空泵中真空油是否不足,鼓风机风量是否合适。
    沙尘试验标准
GB/T 2423.37-2006 电工电子产品环境试验 第2部分:试验方法 试验L:沙尘试验
GJB150.12A-2009 军用装备实验室环境试验方法第12部分砂尘试验
GB/T 4208-2017 外壳防护等级(IP代码)
【相关推荐】
查看详情 + 上一条 产品可靠性测试之低温试验资料大全,值得收藏!
查看详情 + 下一条 电工电子产品高温试验资料大全

东莞市麻豆视频APP免费版环境检测仪器有限公司 版权所有

备案号:粤ICP备89525599号

咨询热线:400-088-3892 技术支持:麻豆视频APP免费版仪器 百度统计

联系麻豆视频APP免费版

  • 邮箱:riukai@jhlthg.com
  • 手机:189 3856 3648
  • 座机:0769-81019278
  • 公司地址:东莞市横沥镇神乐一路15号

关注麻豆视频APP免费版

  • <a id=" src="http://www.jhlthg.com/resource/images/ee6ddfa37b974b8ab546b9456ceeac2a_2.jpg" title="">客服微信
网站地图